发布时间:2023-01-13 00:00:00来源:知产时事点击:0 返回列表
近日,重庆第五中级人民法院发布了中国天府可乐集团公司(重庆)的破产清算的公告。据了解,天府可乐曾是中国可乐品牌第一,最高的时候占据当时中国可乐市场的75%。
天府可乐光辉不再
天府可乐起家于四川成都,成立于1988年10月,注册资本1252.8万元人民币。在上世纪80年代达到辉煌时期,天府可乐曾被定为国宴用饮料。当时,天府可乐在全中国建有108家联营厂,年销量高达20多万吨,利税超过7000万。

后来,由于可口可乐和百事可乐在中国汽水市场的强大渗透率,天府可乐虽然凭借“情怀”回归,吸引了大批消费者关注,但一波热点过去之后,它也难敌两大主流品牌的竞争。
目前,天府可乐对外共投资4家企业,但均已注销、吊销;天府可乐的多家分支机构也全部注销、吊销。风险信息显示,天府可乐自2022年5月起,已多次被申请破产重整。
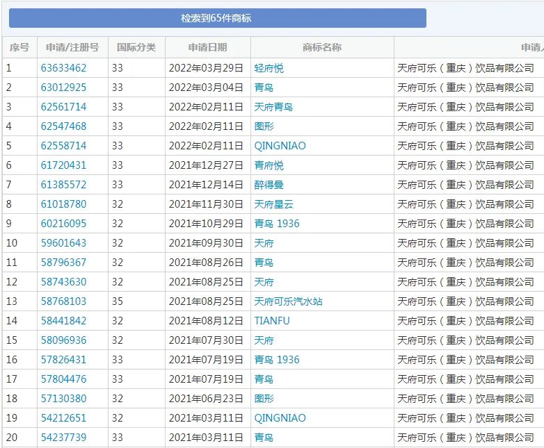
据中国商标网查询显示,天府可乐共计申请商标65件,其中大多仍处于有效的状态。
企业注销商标如何处理?
首先,各位需要认识到:商标是企业的无形资产,它是有价值的,在注销公司的同时,千万不要忘了还有这份无形资产的存在。
法律规定:公司注销后商标可以在一年之内转让,也可以提交注销商标申请,如果公司在注销时未将商标转让,对于已经决定归属的,则企业可以通过移转将商标转移出来。
也就是说,公司主体消失一年后,商标会自动被注销。一年内可以凭相关注销的证明来转移、转让商标,一年后就没有这个权利了。

一般来说,有以下方式对商标进行处理:
归某个股东所有:对遗忘处置的公司资产,在公司注销后,应归其股东共同所有;其股东在承继公司资产的范围内,继续对该公司未清偿的债务承担责任。
转到个人名下:可以将商标通过商标转让的方式转到个人名下,以便后续使用或其他方式使用。
转到其他公司:如果企业还有其他公司的话,可以转让到其他公司的名下。
商标移转:比如企业合并、分立或改制后的权利义务承继者,该企业注销后承继其权利义务的股东或投资者,以及依法院裁定强制执行移转给新的权利人。
商标出售:商标注册人在注册商标的有效期内,按照法定的程序,将商标的专用权转让给另一方的一种行为,可以将无形资产化有形,创造经济收益,商标的价值没有统一标准,一般来说,辨识度高的、寓意美好的、有知名度的商标价格更高,通常情况下,市面上的商标都在1万-3万元之间。这主要是取决于商标的名称是否顺口,字数的多少,是否符合项目的定位等因素。
最后提醒大家:公司注销后要采取相应的措施转让或转移商标,如果置之不理,商标就会随着公司的注销一起消亡。